
Indexa GmbH, Paul-Böhringer-Str. 3, 74229 Oedheim,
Deutschland, www.indexa.de, Stand: 2023/02/15
Lesen Sie diese Bedienungsanleitung vollständig und sorgfältig durch. Die
Bedienungsanleitung gehört zu diesem Produkt und enthält wichtige Hinweise
zur Inbetriebnahme und Handhabung. Beachten Sie immer alle
Sicherheitshinweise. Sollten Sie Fragen haben oder unsicher in Bezug auf die
Handhabung des Gerätes sein, fragen Sie einen Fachmann oder informieren Sie
sich im Internet unter www.pentatech.de. Bewahren Sie diese Anleitung
sorgfältig auf und geben Sie sie ggf. an Dritte weiter.
Das automatische Nachtlicht bietet Licht, wenn Sie es brauchen und wo Sie es
brauchen - z.B. in dunklen Treppenhäusern, Kellern, Garagen, Fluren, im Schlaf-
oder Kinderzimmer. Das Nachtlicht wird einfach in die Steckdose gesteckt. Über
einen Schalter kann das Licht ein- und ausgeschaltet werden. Wird die
Schalterstellung AUTO gewählt, so wird das Licht automatisch durch einen
eingebauten Passiv-Infrarot-Bewegungssensor eingeschaltet. Dieser Sensor
reagiert auf Bewegung von Körperwärme oder anderen Wärmequellen innerhalb
eines Erfassungsbereichs von 6 m über 110°. Das Licht bleibt je nach Einstellung
ca. 30, 60 oder 90 Sekunden eingeschaltet. Bei einer erneuten erfassten
Bewegung schaltet es sich wieder an. Ein eingebauter Lichtsensor sorgt dafür,
dass dasLicht im AUTO-Modusnur bei Dunkelheit eingeschaltetwird.
Durch die automatische Schaltung und die moderne LED-Technik ist das Gerät
energiesparend.Das Nachtlicht ist introckenen Innenräumen zubetreiben.
Jede andere Verwendung oder Veränderung des Gerätes gilt als nicht
bestimmungsgemäß. Für Folgeschäden sowie für Schäden, die durch nicht
bestimmungsgemäßen Gebrauch oder falsche Bedienung verursacht werden,
wird nicht gehaftet. Dieses Gerät ist nicht dafür bestimmt, durch Personen
(einschließlich Kinder) mit eingeschränkten physischen, sensorischen oder
geistigenFähigkeiten odermangelsErfahrung und/odermangelsWissen benutzt
zu werden, es sei denn, sie werden durch eine für ihre Sicherheit zuständige
Person beaufsichtigt oder erhielten von ihr Anweisungen, wie das Gerät zu
benutzen ist. Kinder müssen beaufsichtigt werden, um sicherzustellen, dass sie
nichtmit dem Gerät spielen.
3 Infrarot-Bewegungssensor(PIR)
Stromversorgung: AC 230 V 50 Hz
Stromverbrauch: ca. 0,7 W
Lichtquelle: 3 weiße LEDs
Farbtemperatur: 4500 K (neutralweiß)
Bewegungssensor: Passiv-Infrarot-Bewegungsmelder (PIR)
PIR-Erfassungsbereich: ca. 6 m Entfernung x 115° (horizontal),
Schaltzeit: 30, 60 oder 90 Sekunden (+/- 5 Sekunden)
Lichtsensor: ca. < 12 Lux
Anwendungsbereich: nur in trockenen Räumen,
vor Nässe und Frost schützen
Betriebstemperatur: 0° bis +35° C
BestimmungsgemäßeVerwendung
Die folgenden Hinweise dienen Ihrer Sicherheit und Zufriedenheit beim Betrieb
des Gerätes. Beachten Sie, dass die Nichtbeachtung dieser Sicherheitshinweise
zu erheblichenUnfallgefahren führen kann.
Bei Nichtbeachtung dieses Hinweises werden Leben,
Gesundheitund Sachwerte gefährdet.
Lassen Sie Kleinkinder nicht unbeaufsichtigt mit dem Gerät, Verpackungs-
material oderKleinteilen! Andernfalls droht Lebensgefahr durch Ersticken!
Verwenden Sie das Gerät nur introckenen Innenräumen. Nicht in den Regen
Verwenden Sie nur eine VDE-gerechteSteckdose.
Das Gerätmuss immer voll eingestecktwerden.
Berühren Siedas Gerät nie mitnassen Händen.
Decken Siedas Gerät nie ab.
Halten Siebrennbares Material vom Gerätfern.
Wird dasGerät nicht gebraucht, entfernenSie es ausder Steckdose.
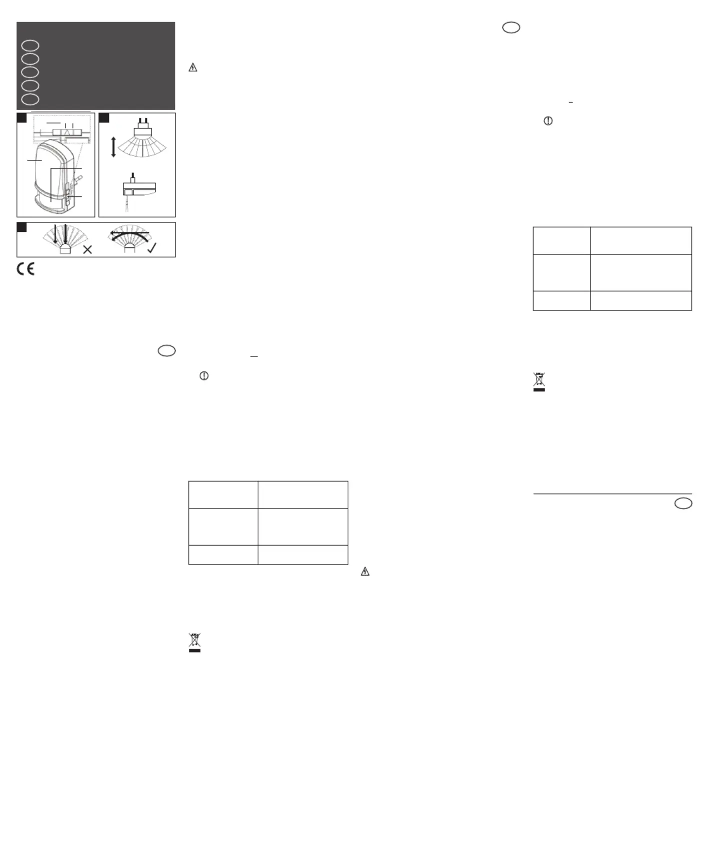
uchen Sie eine geeignet platzierte Steckdose aus, so dass die häufigste
Bewegung quer zum PIR-Sensor stattfindet. Querbewegungen werden schneller
erfasst alsBewegungen direkt auf denSensor zu (sieheAbb. C).
Je nach Ausrichtung der Steckdose kann das Gerät senkrecht oder waagerecht
angebracht werden. Bei einer senkrechten Anbringung beträgt der horizontale
Erfassungswinkel 110°,bei einer waagerechten Anbringung5° (siehe Abb.B).
Eine optimale Funktion ist beieiner Steckdosenhöhe von 20 - 100 cm gegeben.
Der PIR-Sensor reagiert auf Wärme. Stellen Die deshalb das Gerät nicht in der
Nähe von Heizkörpern oder Lüftungsschächten auf (oder darauf ausgerichtet),
wo esdurch Bewegung der warm
Stellen Sieden Schalter auf „OFF“.
Stecken Sie das Gerät in eine 230 V Steckdose; für einen breiten
Erfassungsbereich solltedie Leuchtblende oben sein.
Stellen Sieden Schalter auf „ON“.Das Licht mussleuchten.
Stellen Sie den Schalter auf „AUTO“ und die gewünschte Schaltzeit. Warten
Sie dieAufwärmphase(40 Sekunden) ab. DasLicht leuchtet auf,wenn
- eineBewegung im Erfassungsbereich registriertwird (Sie selbst!).
Ein Lichtsensor sorgt dafür, dass im AUTO-Modus das Licht nur bei
Dunkelheit aktiviert wird. Wenn der gewählte Aufstellungsort zu
hell ist,schaltet sich das Lichtnicht ein!
Das Licht erlischt nach der eingestellten Schaltzeit. Das Gerät ist
automatisch sofortwieder betriebsbereit.
Schalten Sieauf „OFF“, um das Gerät abzuschalten.
Schalten Sie in die„OFF“-Stellung, wennSie das Gerät nicht verwenden. Wenn
das Gerät für längere Zeit nicht genutzt wird, entfernen Sie es bitte aus der
ÜberprüfenSie regelmäßig denordnungsgemäßen Zustand unddieFunktion.
VerwendenSie einweiches,trockenes Tuch zurReinigungder Oberflächendes
en Luftaktiviert werden könnte.
Die durchgestrichene Mülltonne bedeutet, dass Sie gesetzlich
verpflichtet sind, diese Geräte einer vom unsortierten Siedlungsabfall
getrenntenErfassung zuzuführen.
Die Entsorgung über die Restmülltonne oder die gelbe Tonne ist untersagt. Sie
haben Altbatterien und Altakkumulatoren, die nicht vom Altgerät umschlossen
sind, sowie Lampen, die zerstörungsfrei aus dem Altgerät entnommen werden
können, vor derAbgabe an einer Erfassungsstellevom Altgerät zerstörungsfrei zu
trennen. Den zuständigen Recyclinghof bzw. die nächste Sammelstelle erfragen
Sie bei Ihrer Gemeinde oder unter https://www.ear-system.de/ear-
verzeichnis/sammel-und-ruecknahmestellen. Außerdembesteht die Möglichkeit
der kostenfreien Rücknahme über Ihren Händler. Das Löschen eventuell
vorhandenerprivater Daten vor derEntsorgung obliegt Ihnen alsNutzer.
Lisez intégralement et soigneusement ces instructions d'utilisation. Ces
instructions d'utilisation font partie intégrante du produit et contiennent des
informations importantes par rapport à sa mise en service et sa manipulation.
Observez toujours lesconsignes de sécurité. Au cas oùvous auriez des questions
ou si vous aviez des doutes par rapport à la manipulation de l'appareil, prenez
contact avec une personne spécialisée, parcourez le site Internet
www.pentatech.de. Conservez soigneusement ces instructions et remettez-les le
Confortableet sécurisant de lalumière quand et oùvousen avez besoin– dans les
endroits obscures tels que les cages d'escaliers, les caves, les garages et les
corridors, les chambres à coucher ou les chambres d’enfant. La lumière
automatique est simplement branchée dans une prise secteur. Un interrupteur
permet d’allumer et d’éteindre la lumière. En choisissant le mode AUTO, la
lumière s’allume automatiquement via le détecteur de mouvements infrarouge
passif (PIR) intégré. Celui-ci réagit à la chaleur dégagée d’un corps humain ou
d’autres sources de chaleur dans une zone de détection de 6 m à110°. Selon le
réglage, la lumière reste allumée pendant environ 30, 60 ou 90 secondes.
Lorsqu'un nouveaumouvement est détecté, la lumière seremet en marche. Dans
lemode AUTO, la cellulephoto-sensible ne fonctionne quedansl'obscurité.
Grâceà la techniqueLED moderne et au modeautomatique, l’appareiléconomise
de l’énergie. La lumière est appropriée pour une utilisation dans des espaces
Touteautre utilisation ou modificationdes appareils est considéréenon conforme
et présente des risques d'accidents considérables. Nous ne pourrons nullement
être tenus responsables de dommages directs ou consécutifs résultant d'une
utilisation nonconforme ou d'une mauvaisemanipulation. Cet appareil n'est pas
prévu pour être utilisé par des personnes présentant des capacités physiques,
sensorielles ou mentales réduites, ni par des personnes inexpérimentées ou ne
connaissant par son fonctionnement, ni par des enfants, à moins que ces
personnes soient sous la surveillance d'une personne répondant de leur sécurité
ou qu'elles aient reçu des instructions sur le fonctionnement de l'appareil. Les
enfantsdoivent être surveilléspour qu'ils nejouentpas avec l'appareil.
2 Interrupteur AUTO/OFF/ON
3 Capteur infrarouge (PIR)
Alimentationélectrique: AC230 V 50Hz
Consommation: ca.0,7 Watt
Source de lumière: 3 LEDs blanches
Flux de lumière: 18 Lumen
Température de couleur: 4500 K (blanc neutre)
Capteur: détecteur infrarouge de mouvement (PIR)
Zone de détéction: jusqu'à. 6 m de rayon x 115° horizontale,
Durée de commutation: 30, 60 ou 90 secondes (+/- 5 secondes)
Capteur photosensible: ca. < 12 Lux
Application: uniquement dans des locaux secs,
protéger de l'humidité et du gel
Les consignes suivantes concernent votre sécurité et votre satisfaction lors de
l'utilisation de l'appareil. Veuillez notez que le non-respect de ces consignes de
sécurité peut conduire à des dommages conséquents.
En cas de non respect des informations suivantes, il peut en
résulter un danger de mort, un danger pour la santé ou un risque
d'occasionner des dommages!
Nelaissez pas les petitsenfants sanssurveillance prèsdel'appareil, despiles,
dumatériel d'emballage ou depièces depetites dimensions! Il ya undanger
Utilisez ce produit uniquement en intérieur dansdes pièces non humides. Il
nedoit pas être mouilléni humide.
Utilisezseulement une prisede courant conformeàla norme VDE.
L'appareildoit toujours être complètementbranché.
Netouchez jamais ce produitavec des mains mouillées!
Nejamais couvrir l'appareil.
Tenirlesmatièresinflammables éloignéesdel'appareil.
Siel'appareil n'est pas utilisé,débranchez-le de la prisedecourant.
Placez l’appareil prèsd’une prise de sorteque les mouvements les plus fréquents
à détecter coupent le «champs de vision» du capteur. Les mouvements
transversaux sont détectables plus rapidement que lesmouvements vers le
Selon l'orientation de la prise, l'appareil peut être installaé verticalement ou
horizontalement. En montage vertical, l'angle de détection horizontal est de
110°,en montage horizontal, iles de 5° (voirfig.B).
Fonctionnement optimal à une hauteur de 20 –100 cm. Le détecteur à infra-
rouges passif (PIR) intégréréagit à la chaleur des corps. Ne placez donc pas
l’appareil dans le voisinage d’une source de chaleur oud’un appareil de
ventilation d’air, les mouvements de masses d’airs pourraient déclencher le
Positionnerl'interrupteurenposition OFF.
Brancher l'appareil surune prise 230 V;pour une grande portée de détection,
lediffuseur de lumièredoit être surledessus.
Positionnerl'interrupteur enposition ON. Lalampedoit êtreéclairée.
Positionner l'interrupteur en position AUTO et la durée de commutation
désirée. Attendre 40 s pour la mise en marche effective. La lumière s'allume
Dans le mode AUTO, le capteur photosensible [6] n'active la
lumièreque dans l'obscurité. Lorsquele détecteur est placé dans un
endroittrop éclairé il nefonctionne pas.
La lampe s'éteint après la durée de commutation.
Si vous n'utilisez pas l'appareil, positionnez le détecteur en position OFF. Si
l'appareil n'est pasutilisé pendant une périodeprolongée, veuillez le retirer de la
Contrôlezrégulièrement l'état de l'appareilet son bon fonctionnement.
Utilisezun chiffon douxet sec pournettoyerles surfaces del'appareil.
Nejetez pasle matérield'emballage etles appareilseux-mêmes,mais
amenez-les à des emplacements de récupération. La déchetterie ou
l'emplacement de recyclage le plus proche vous seront communiqués
parvotre administration communale.
Leggere attentamente e completamente il presente manuale di istruzioni. Il
manuale delle istruzioni fa parte di questo prodotto e contiene indicazioni
importantiper la messain funzione e la manipolazione.Osservare sempretuttele
indicazioni disicurezza. Incaso didubbi sull'utilizzodell'apparecchio, consultare
un tecnico specializzato. Conservare questo manuale con cura e passarlo
Luce, quando serve e dove serve –in posti bui come la tromba delle scale, la
cantina, il garage, la camera o la stanza dei bambini.
La luce può essere accesa e
spenta tramite un interruttore. Se viene selezionata la modalitàdell'interruttore
AUTO, la luce viene automaticamente attivata da un sensore di movimento a
infrarossi passivo incorporato. Questo sensore risponde al movimento del calore
corporeoo di altre fontidi calore entro unraggiodi rilevamento di6 m su 110°.
l'accensione della luce si esegue solo al buio per via del sensore di luce
Grazie al circuito automatico e alla moderna tecnologia LED, il dispositivo è
efficiente dalpunto di vista energetico. La luce notturna deve essere utilizzata in
Ogni altro utilizzo o modifica all'apparecchio è da ritenersi non conforme e
comporta notevoli pericoli di incidente. Il produttore non risponde per i danni
derivanti da utilizzo non conforme o non corretto. Questo apparecchio non è
adatto perpersone (compresi i bambini), conlimitate facoltà fisiche, sensoriali o
psicologiche o senza esperienza e/o senza conoscenza, a meno che non siano
seguite da unapersona responsabile della loro sicurezzao non ricevano da essa
indicazioni su come utilizzare l'apparecchio. I bambinidevono essere controllati
ondeevitare che giochinocon l'utensile.
1 Schermod'illuminazione (diffusore)
2 InterruttoreAUTO/OFF/ON
3 Sensoreinfrarosso (PIR)
-qu’un mouvement est détecté(le vôtre !)
automatiquementprêt à fonctionner.
l'interrupteur surOFF pour éteindre l’appareil.
semplicemente inserita in una presa di corrente.
luce rimane accesa per circa 30, 60 o 90 secondi a seconda dell'impostazione.
Quando viene rilevato di nuovoun movimento, si riaccende.
Langsame Reaktion des Sensors
Sensor schaltet ohne Bewegung
Aufwärmzeit des Sensors abwarten.
Umgebung ist zu hell (Lichtsensor).
Bewegung wurde nicht erfasst.
Position ändern (siehe Platzierung ).
Bei höheren Umgebungstemperaturen
reagiert der Sensor langsamer auf
Wärmequelle in der Nähe oder im
Erfassungsbereich Position ändern.:
l'interrupteur est sur AUTO
Réaction lente du capteur
Attendez la mise en marche du capteur.
Le mouvement n'a pas été détecté.
Changez la position (voir Placement ).
A des températures ambiantes plus élevées, le
capteur réagit plus lentement aux mouvements
Source de chaleur à la proximité ou dans la
6 m