Perfect Christmans GT-TLbww-B Manual


Læs gratis den danske manual til Perfect Christmans GT-TLbww-B (2 sider) i kategorien Lettelse. Denne vejledning er vurderet som hjælpsom af 7 personer og har en gennemsnitlig bedømmelse på 4.0 stjerner ud af 4 anmeldelser. Har du et spørgsmål om Perfect Christmans GT-TLbww-B, eller vil du spørge andre brugere om produktet?

Side 1/2
General
Read and keep operating instructions
The operating instructions belong to these LED
twig lights. They contain important informa-
tion regarding initial use and handling.
In order to improve the comprehensibility, the LED
twig lights will hereinafter only be referred to as “twig
lights”.
Before using the twig lights, read through the oper-
ating instructions carefully, particularly the safety in-
structions.
Failure to comply with these operating instructions
can lead to serious injuries or damage to the twig
lights. The operating instructions are based on the
valid standards and rules in the European Union.
Please also note the country-specifi c directives and
laws abroad. Keep the operating instructions for fur-
ther use. If you pass the twig lights on to third parties,
please also ensure that you pass on these operating
instructions.
Explanation of symbols
The following symbols and signal words are use in
these operating instructions, on the twig lights or
on the packaging.
WARNING!
This signal word indicates a hazard
with a medium degree of risk,
which could lead to death or serious injury if it is
not avoided.
NOTE
This signal word warns of possible
damage to property.
INFO
This symbol gives you useful infor-
mation about assembly or operation.
Conformity declaration (refer to “Conformity
declaration” section) Products that are
marked with this symbol fulfi l all applicable Com-
munity regulations of the European Economic Area.
For indoor use only
Protection class III: Articles in this protection
class are operated with safety extra-low voltage
Safety
Intended use
The twig lights are exclusively for lighting house-
hold interiors. They are not for room lighting.
They are exclusively intended for private use.
The LED twig lights are not a toy.
Only use the twig lights as described in these oper-
ating instructions. Any other use shall be regarded
as improper and can lead to property damage or
even injury to persons.
The manufacturer or retailer shall not assume any li-
ability for losses caused by intended or improper use.
Safety instructions
WARNING!
Explosion and
chemical burn hazard!
Improper handling of batteries may cause a risk of ex-
plosions or chemical burns from leaking battery fl uid.
Do not expose the batteries to intense heat and
do not throw them into open fi re.
Always replace all of the batteries of the twig
lights at the same time and with the same type of
batteries.
Do not short-circuit or dismantle batteries.
Never try to charge non-rechargeable batteries.
Avoid contact by battery uid with the skin, eyes
and mucous membranes.
Do not remove the battery fl uid with bare hands.
When coming into contact with the battery uid,
immediately rinse the affected areas with plenty
of clear water and contact a physician.
If you do not use the twig lights for a longer peri-
od of time, remove the batteries.
Remove and dispose of used batteries directly
and properly.
Keep the batteries away from children.
If batteries are swallowed or enter the body in
another way, immediately contact a physician.
WARNING!
Strangulation and
suffocation hazard!
Children may strangle themselves or swallow sup-
plied small parts and suffocate, if they play with the
twig lights.
Do not let children play with the twig lights, the
batteries or the packaging.
Use the twig lights out of the reach of children.
Store the twig lights out of the reach of children.
WARNING!
Electric shock hazard!
Improper handling of the twig
lights may result in electric shock.
Do not operate the twig lights if they show visible
damage.
Do not make any modifi cations to the twig lights.
Allow repairs to be performed by a specialist work-
shop, in order to avoid hazards and damage.
If the LEDs of the twig lights or the connection
cable are damaged, the twig lights must be dis-
posed of.
Do not immerse the twig lights in water or other
liquids.
WARNING!
Overheating and fi re hazard!
Improper handling of the twig
lights may lead to overheating and even fi re.
Do not operate the twig lights, if they are still in
the packaging.
Do not place the twig lights on or near sharp and
ammable objects.
Do not wrap the fairy lights around highly am-
mable materials.
Do not connect the twig lights electrically with
other fairy lights.
Do not shorten the fairy lights of the twig lights.
NOTE
Risk of damage!
The LEDs of the twig lights cannot
be replaced.
Check scope of delivery
NOTE
Risk of damage!
If you open the packaging without
due care and attention using a sharp knife or other
pointed objects, the twig lights may easily become
damaged.
Proceed very carefully when opening.
1.
Remove the twig lights from their packaging.
2. Check whether the delivery is complete:
- 5 LED twig lights with connection cable and
battery compartment.
- 7 decorative branches without lighting.
- 3 x LR6 (AA) / 1.5 V
- Operating instructions with guarantee card
3.
Check whether the twig lights or individual parts
are damaged. If this is the case, do not use the twig
lights. Contact the manufacturer via the service ad-
dress stated on the guarantee card.
Use
NOTE
Risk of damage!
Incorrectly inserted batteries may
damage the twig lights.
Pay attention to the polarity +/- that is printed inside
the battery compartment and on the battery.
User Manual
LED TWIG LIGHTS
YEARS
WARRANTY
AFTER SALES SUPPORT
MODEL:
GT-TLbww-B / GT-TLsam-B / GT-TLww-B
79688
11/2017
info@globaltronicssupport.com
0800 / 328 6020 00800 / 4467 5888
GB IRE
3
Everyday Amazing
Only insert the batteries into the battery compart-
ment with dry hands.
Only replace the batteries with the same type of
battery.
Do not use old and new batteries together or batter-
ies with a different charge level.
Insert/replace batteries
1. Slide the battery com-
partment lid 1 of the con-
trol unit in the direction
of the arrow in order to
open the battery com-
partment.
2. Remove any old batter-
ies from the battery com-
partment and dispose of
them properly (refer to
“Disposal” section)
3. Clean the batteries and device contacts, if neces-
sary.
4. Insert 3 batteries of the type LR6 (AA), 1.5 V, into
the battery compartment according to the print-
ed-on polarity.
5. Replace the battery compartment lid.
1
WARRANTY CARD
LED TWIG LIGHTS
Description of malfunction:
Your details:
Name:
Addresse:
E-Mail:
Date of purchase*
*We recommend you keep the receipt with this warranty card
Location of purchase:
WARRANTY
AFTER SALES SUPPORT
MODEL:
GT-TLww-B
GT-TLbww-B
GT-TLsam-B
11/2017
GB
IRE
79688
If after contacting the manufacturer you
are requested to return the faulty product
please return the completed
warranty card together with it.
Globaltronics Service Center
c/o Bridges Logistics
PO BOX 1125
Bromley
BR1 9TW
UK
Phone lines available:
Monday to Friday,
8 am–5 pm
3
(for repair status messages)
PO51001162
Please tick:
GT-TLww-B (white) GT-TLsam-B (black)GT-TLbww-B (braun)
info@globaltronicssupport.com
0800 / 328 6020
00800 / 4467 5888
GB
IRE
YEAR
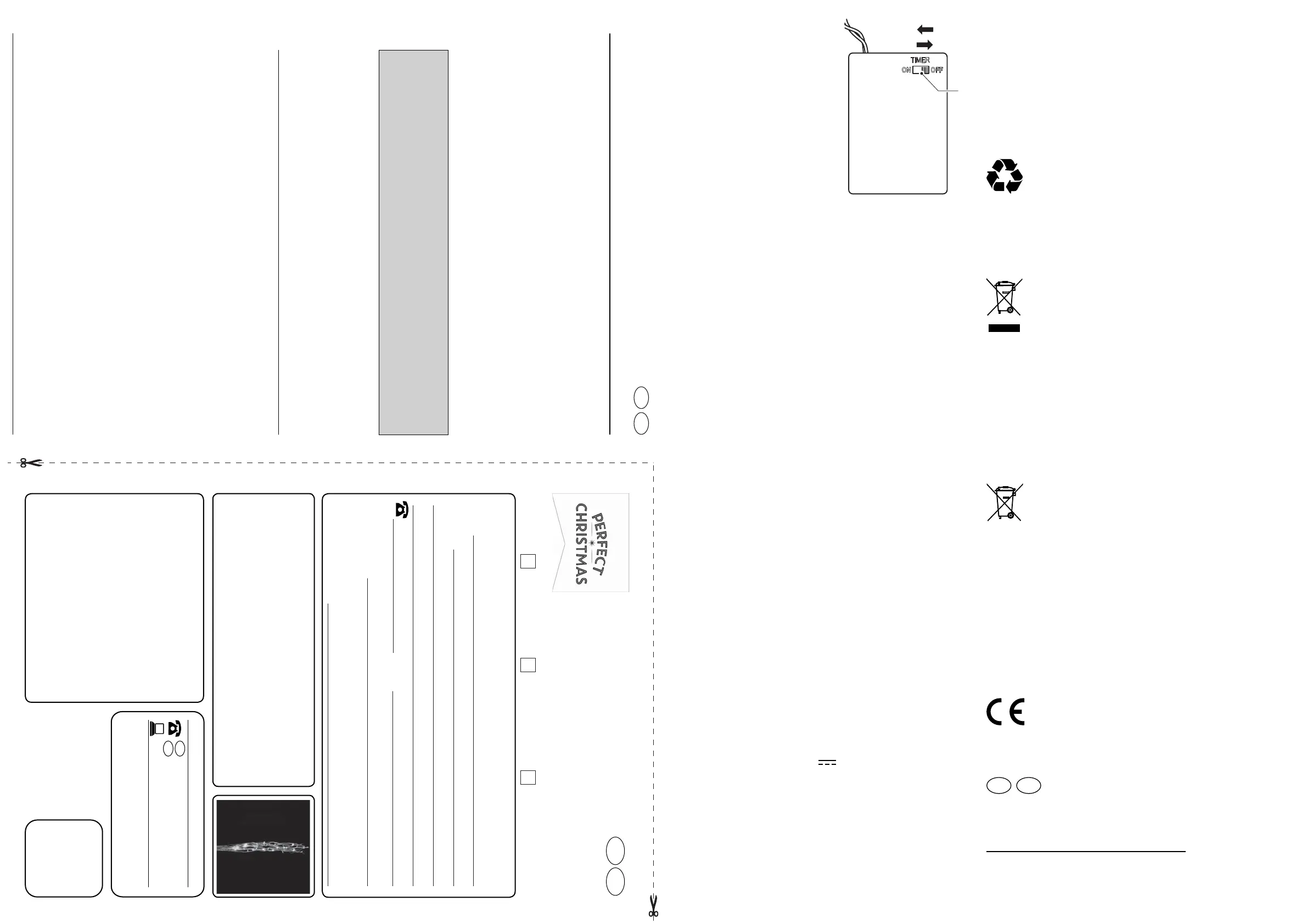
Use of control element
- Slide the switch 2 to the ON
position, in order to switch
the twig lights on perma-
nently.
- Slide the switch 2 to the TI-
MER position, in order to ac-
tivate this function.
The timer controls the oper-
ation of the twig lights in a
24-hour cycle: The twig lights
light up for 6 hours at a time, then they switch off
automatically and switch back on after another 18
hours.
- To switch off the twig lights, slide the switch 2 to
the OFF position.
If you are no longer using the twig lights, ensure
that they are switched off.
Cleaning and storage
Improper cleaning of the twig lights may cause
damage.
Before cleaning, ensure that the twig lights are
switched off. Remove the batteries from the bat-
tery compartment.
Do not use any aggressive detergents, brushes
with metal or nylon bristles or sharp or metallic
cleaning implements, such as knives, hard spat-
ulas and similar. These may damage the twig
lights. Ensure that no water penetrates the bat-
tery compartment or the LEDs.
Clean the twig lights with a feather duster, a brush
or a dry, soft cloth.
If you are not using the twig lights for an extend-
ed period of time, remove the batteries from the
battery compartment. Store the batteries in the
packaging.
Technical data
Model: GT-TLww-B (white),
GT-TLsam-B (black),
GT-TLbww-B (brown)
Batteries: 3 × 1.5 V, type LR6/AA
Total output: 4.5 V
, 0.7 W
Power supply cable: 50 cm
Protection class: III, refer to Explanation of
symbols
Protection class: IP20 (protected against
solid foreign bodies with a
diameter > 12.5 mm, not
protected against water)
As our products are constantly being further devel-
oped and improved, design and technical changes
are possible.
This user manual can be downloaded via our home-
page www.gt-support.de as a PDF.
Disposal
Disposal of packaging
Dispose of the packaging such that it is correct-
ly sorted. Submit cardboard and card to waste
paper and foils to the recycling collection.
Disposal of the LED twig lights
(Applicable in the European Union and other Euro-
pean states with systems for separate collection of
recyclable materials)
Old devices are not permitted to be dispo-
sed of with household waste!
If the device should no longer be usable, every con-
sumer is legally obligated to submit old devices
separately from household waste, e.g. to a col-
lection centre of his/her municipality/district. This
ensures that old devices are recycled properly and
negative effects on the environment are avoided.
That is why electrical devices are labelled with the
symbol shown here.
Batteries and rechargeable batteries are
not permitted to be disposed of with
household waste!
As a consumer, you are legally obligated to submit
all batteries and rechargeable batteries to a col-
lection centre for your local municipality/district
or to retailers, regardless of whether they contain
toxins or not, so that they can be disposed of in an
environmentally friendly manner. Only submit the
batteries to your collection centre in a discharged
state. * marked with: Pb = lead
Conformity Declaration
The conformity of the product with the legally
prescribed standards is guaranteed.
You can nd the full conformity declaration on the In-
ternet at www.gt-support.de
IRE
GB
PRODUCED IN CHINA FOR:
ALDI STORES LTD. PO BOX 26, ATHERSTONE,
WARWICKSHIRE, CV9 2SH.
ALDI STORES (IRELAND) LTD.
PO BOX 726, NAAS, CO. KILDARE.
Visit us at www.aldi.com
2
Warranty conditions
Dear Customer
The ALDI warranty offers you extensive benefi ts:
Warranty period:
3 years
from date of purchase.
Costs:
Free repair/exchange.
No transport costs.
Hotline: Free hotline
ADVICE:
Please contact our service hotline by phone,
e-mail or fax before sending in the device. This
allows us to provide support in the event of
possible operator errors.
In order to make a claim under the warranty, please send us:
the faulty item together with the original purchase receipt
and the completed warranty card.
the product with all components included in the packaging.
The warranty does not cover damage caused by:
Accident or unanticipated events (e. g. lightning, water, fi re).
Improper use or transport.
Disregard of the safety and maintenance instructions.
Other improper treatment or modifi cation.
After the expiry of the warranty period, you still have the possibility to
have your product repaired at your own expense. If the repair or the
estimate of costs is not free of charge you will be informed accordingly
in advance.
This does not affect your statutory rights. In the event that a product
is received for repair, neither the service company nor the seller will
assume any liability for data or settings possibly stored on the product
by the customer.
GB
IRE


Produkt Specifikationer

Mærke: Perfect Christmans
Kategori: Lettelse
Model: GT-TLbww-B

Har du brug for hjælp?

Hvis du har brug for hjælp til Perfect Christmans GT-TLbww-B stil et spørgsmål nedenfor, og andre brugere vil svare dig