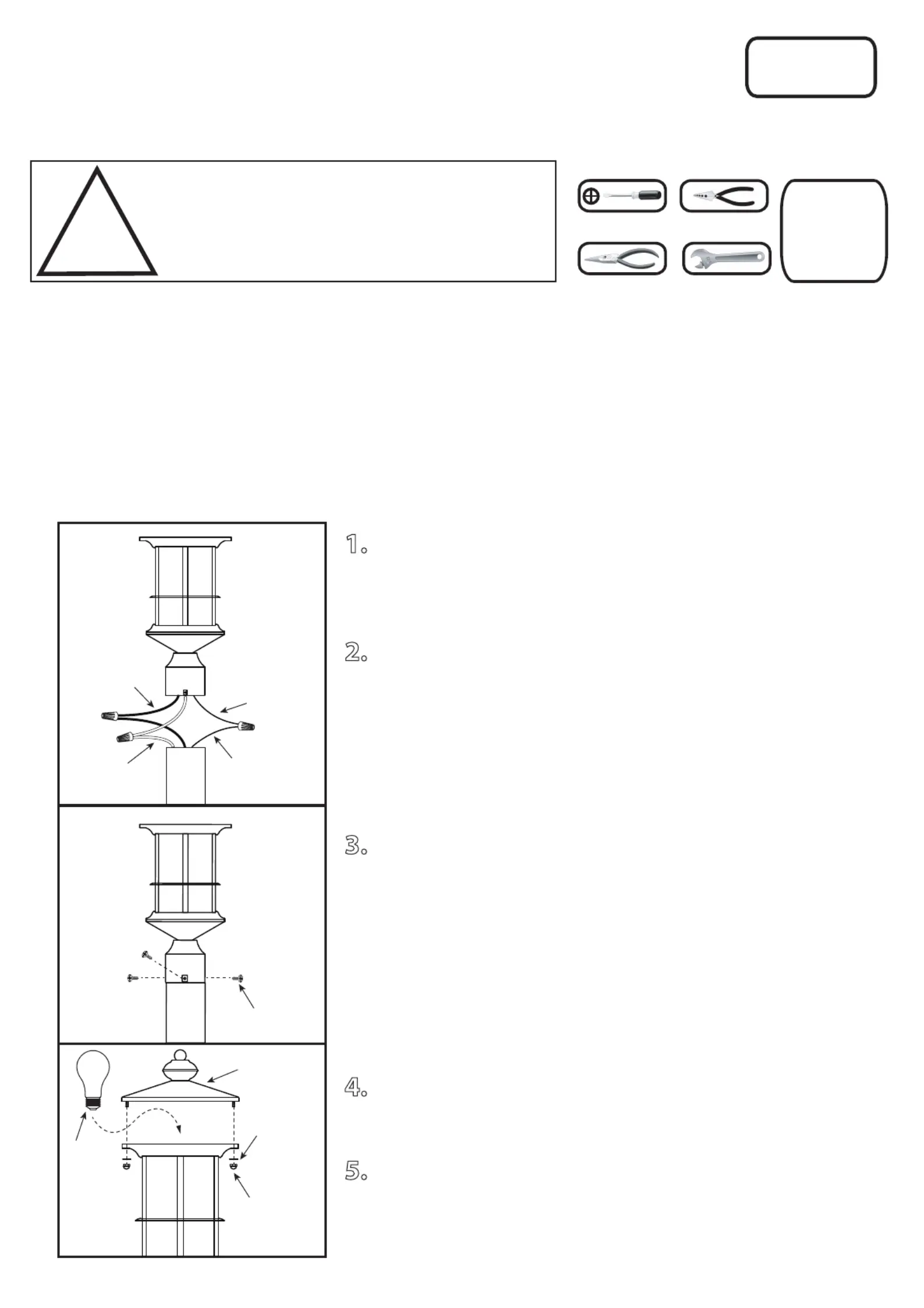
Canarm Treehouse IOL303 Manual
Læs gratis den danske manual til Canarm Treehouse IOL303 (1 sider) i kategorien Lys. Denne vejledning er vurderet som hjælpsom af 2 personer og har en gennemsnitlig bedømmelse på 4.4 stjerner ud af 1.5 anmeldelser.
Har du et spørgsmål om Canarm Treehouse IOL303, eller vil du spørge andre brugere om produktet?

Produkt Specifikationer
| Mærke: | Canarm |
| Kategori: | Lys |
| Model: | Treehouse IOL303 |
Har du brug for hjælp?
Hvis du har brug for hjælp til Canarm Treehouse IOL303 stil et spørgsmål nedenfor, og andre brugere vil svare dig
Lys Canarm Manualer
Lys Manualer
- Caliber
- Aqara
- Bresser
- Petzl
- Emos
- Royal Sovereign
- Aquael
- GoPro
- Ignition
- OK
- Blackburn
- Furrion
- Savage
- COLBOR
- Amaran